制造业知识分享、信息发布平台-兴盛制造网 Email: 206027815@qq.com

【仙知小课堂】仙知网络协议API使用教程(三)

分类: 工业机器人 浏览量: 留言数: 2807

之前,我们面向初学者介绍了仙知网络协议API的概念、类别及使用教程。

接下来,将详细介绍如何查询机器人状态 API中的“机器人信息”和“机器人的运行信息”,希望帮助用户更高效地使用仙知机器人。

机器人状态 API

如何查询机器人信息

查询机器人信息

请求

编号: 1000 (0x03E8)

名称: robot_status_info_req

描述: 查询机器人信息

JSON 数据区: 无

请求示例

数据区长度为0, 只有包头:

【仙知小课堂】仙知网络协议API使用教程(三)

响应

编号: 11000 (0x2AF8)

名称: robot_status_info_res

描述: 查询机器人信息的响应

JSON 数据区: 见下表

【仙知小课堂】仙知网络协议API使用教程(三)

【仙知小课堂】仙知网络协议API使用教程(三)

【仙知小课堂】仙知网络协议API使用教程(三)

响应示例

假设响应内容为:

{“id”:“S001”,“version”:“v1.1.0”,“model”:“S1”,“dsp_version”:“v1.2.2”,“map_version”:“v1.0.0”,“model_version”:“v1.1.0”,“netprotocol_version”:“v1.2.0”}

加上头部共 163 (0xA3) 个字节 (Byte), 因此响应的内容为:

【仙知小课堂】仙知网络协议API使用教程(三)

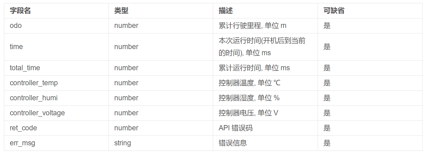
如何查询机器人运行信息

查询机器人运行信息

请求

编号: 1002 (0x03EA)

名称: robot_status_run_req

描述: 查询机器人的运行状态信息(如运行时间、里程等)

JSON 数据区: 无

请求示例

数据区长度为0, 只有包头:

【仙知小课堂】仙知网络协议API使用教程(三)

响应

编号: 11002 (0x2AFA)

名称: robot_status_run_res

描述: 查询机器人的运行状态信息的响应

JSON 数据区: 见下表

【仙知小课堂】仙知网络协议API使用教程(三)

响应示例

【仙知小课堂】仙知网络协议API使用教程(三)

今年仙知机器人有大量关于仙知网络协议API的使用教程,小仙会持续为大家进行介绍,敬请关注下期【仙知小课堂】仙知网络协议API使用教程(四)

本文地址: https://www.xsyiq.com/2807.html
网站内容如侵犯了您的权益,请联系我们删除。

标签: 上一篇: 下一篇: